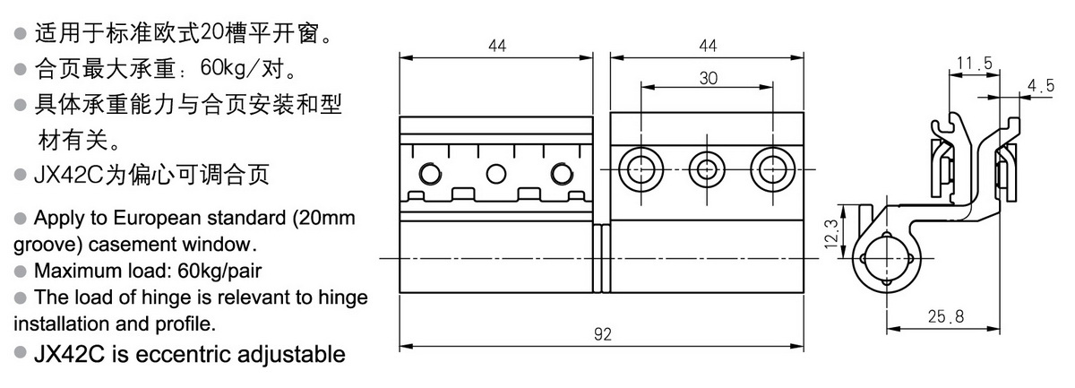
JX42合頁
合頁
JX42合(hé)頁
18373196695
在線谘詢
上一(yī)個產品 : JX67合頁 下一個產品 : JX21合頁

    Warning: Invalid argument supplied for foreach() in D:\wwwroot\bingjilinji.com.cn\productsdetail.php on line 145
產品詳情

JX42合頁

采購:JX42合頁

具體內容:

姓名昵(nì)稱:

電子郵件:

手機號碼:

 网站地图 9I免费看片_9i制作厂电影_9I看片成人免费_9I破解版免费版安装在线